任天堂似乎已经在为下一代的游戏机做准备了!外媒于近日披露了一批任天堂已经申请过并可公开的专利图,这个专利是可以让屏幕上的对象「穿」到另一个屏幕上,如果任天堂能持续研发,也许将为电子游戏的玩法跨出全新的一步。

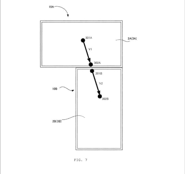
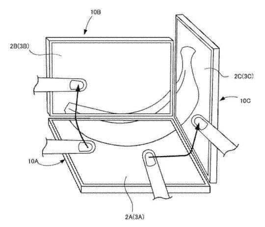
就目前的游戏机来说,大部分游戏都是在同一个屏幕上处理游戏中的对象,而也有像3DS则是通过翻盖式的硬件链接来让游戏画面可能在两个屏幕中互换位置。但,你有没有想过如果是「完全分开」的两台主机也能做到这件事呢?这次任天堂的专利就是这样的概念,从专利图中可以看出,任天堂正在想办法通过用手指滑动屏幕,来让A主机屏幕上的球跑到B主机上,甚至是将这个对象移动到更多台主机中,此外也可以通过屏幕放在一起来拼贴出一个图像,甚至是呈现立体的感觉。值得注意的,就目前披露的专利图看来,这数个装置间不见得一定要完全靠在一起,稍微有点缝细也可以让物体在不同装置间穿越。


任天堂在游戏上一向强调家庭与同乐,这样的玩法显然是目前触控屏幕装置还没有达成的技术,是否能应用在现有的Nintendo Switch上还尚未得知,究竟可以为现今的游戏带来怎样的变革,玩家们不妨也可以动动脑想想看。



